Support this website by joining the Silver Rails TrainWeb Club for as little as $1 per month. Click here for info.



This website has been archived from TrainWeb.org/rrisig to TrainWeb.US/rrisig.

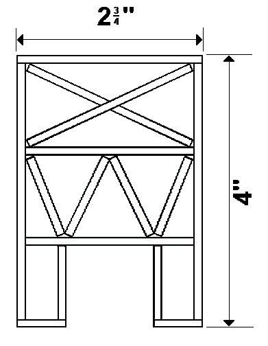
Errata in Lineside Ore Bridge Article

 

If you plan to build a fully-operating model of the ore bridge described in Volume XIV of Lineside, the article contains some erroneous information.

 

1. Width of Main and Extension Spans Too Narrow

On page 20, the cross-brace frame diagram in Figure 3 shows the width between the outside edges to be 21/4 inches. After the article went to press, I discovered that the narrowest commercially available gearbox that could be placed in a matched pair (for the two bucket control cable winches) is 13/8 inches wide, resulting in a total width of 2¾ inches when placed side-by-side. A tram containing this set of gearboxes will not clear the forward legs at the original width.

 

The center gap (where the railway is to be located) should remain unchanged, but the bottom horizontal pieces of the U-shaped hanging sections should each have 1/4 inch added to their lengths. Full-width horizontal beams need an additional ½ inch; also, the diagonal pieces will need to be lengthened to fit. (See the amended Figure 3 below).

 

2. Attach Wire Connections to Rails Before Installing

If you wait until after you have constructed the rail frame (as shown in Figs. 6-8) to solder the electrical wiring connections, you may find yourself having to apply the solder to the inner sides of the rails. Unless you are exceptionally talented with a soldering iron - which I am NOT - the resulting globs of solder could potentially cause the tram to derail.

 

The strategy I should have followed is to solder approximately 3 inches of wire to the outside of each rail at the forward (or waterfront) end, then cover the ties with J-B Weld™ afterward.

 

-KJL 03/16/04

 


ad pos61 ad pos63
ad pos62 ad pos64



Support this website by joining the Silver Rails TrainWeb Club for as little as $1 per month. Click here for info.